Hoş Geldiniz
Hızlı ve güvenli alışverişe giriş yapın!
Henüz Üye Değil Misiniz?
Kolayca üye olabilirsiniz!

Tank havalandırma gömme 3/4

1.751,31 TL
Marka
Stok Kodu
1911273
Stok Durumu
Var
Stok Adeti
5 Adet
Garanti Süresi
24 Ay
Fiyat
34,25 USD + KDV
*163,16 TL den başlayan taksitlerle!
KARAR VEREMEDİNİZ Mİ?
ÜCRETSİZ KARGO
1-3 iş gününde kargoda
ÜCRETSİZ İADE
14 gün içinde ücretsiz iade
GÜVENLİ ÖDEME
Kart bilgileriniz korunmaktadır
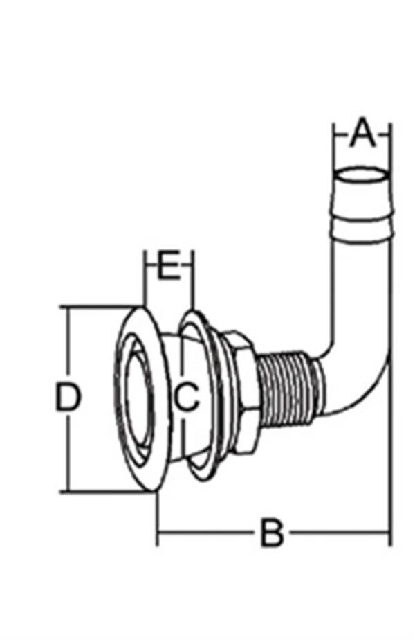
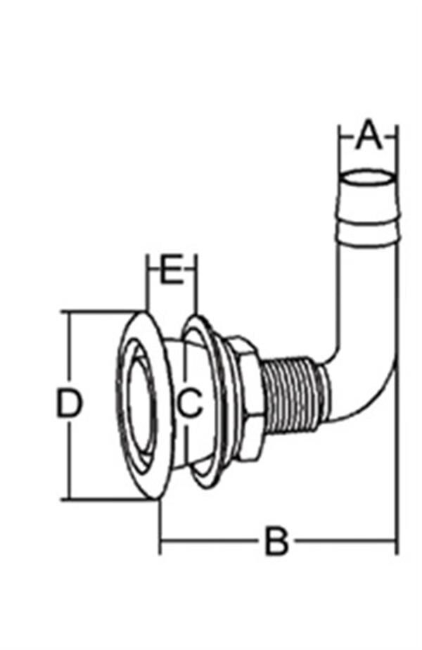
Tank havalandırma


Gömme. AISI 316 paslanmaz çelik. 16-38mm arası panel kalınlığına kadar monte edilebilir.
B mm:76
Açı:90°
C mm:38
A mm:19
D mm:49
Bu ürüne ilk yorumu siz yapın!
Bu ürünün fiyat bilgisi, resim, ürün açıklamalarında ve diğer konularda yetersiz gördüğünüz noktaları öneri formunu kullanarak tarafımıza iletebilirsiniz.
Görüş ve önerileriniz için teşekkür ederiz.
Tank havalandırma gömme 3/4 Tank havalandırma gömme 3/4 ürününü Marineist güvencesi ile satın almak için hemen tıklayın! 1911273
Tank havalandırma gömme 3/4

Tavsiye Et

*
*
*
IdeaSoft® | E-Ticaret paketleri ile hazırlanmıştır.